
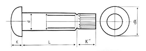
TORSIONAL SHEAR BOLT
THE FINISH:PLAIN PHOS PHINED,BLACK,Z/P,HDG,DACROMET
GB/T3636
STRENGTH GTADE:10.9s
THREAD:6g
GB/T3632
STRENGTH GTADE:HRC35-45
GB/T3632
STRENGTH GTADE:10H
THREAD:6H
L(BOLT LENGTH)=CONNECTING PLATE THICKNESS+L1
L1=NUT THICKNESS+2×WASHER THICKNESS+(2-3)THRED PITCH

Scan QR code
Friendship link |
WANGJIASIWEI